Understanding and Solving Blood Oxygen Level Monitoring Design Challenges
Contributed By DigiKey's North American Editors
2017-01-25
Blood oxygen levels are typically measured using pulse oximetry with light-based sensors clipped onto a finger. While the technology has been available for many years, technical challenges remain such as how to handle ambient light, patient motion, blood-pulsation effects, and the general subtleties of human physiology.
Combined with the need for appropriate dynamic range, and low-power operation to both avoid self heating and extend battery life, there is a constant need for design improvements.
This article will give a brief introduction to the theory behind SpO2 monitoring and what designers need to consider for a successful design. It will then introduce the MAX30102 from Maxim Integrated, show how it matches those considerations, and show how to get a design off the ground as quickly and effectively as possible using an available evaluation kit.
How SpO2 monitoring works
Peripheral capillary oxygen saturation (SpO2) units can be packaged as a single-function device for personal monitoring as part of a health/wellness wearable, or used in a medical/hospital setting in a complex integrated monitoring system. The optically-based SpO2 approach is elegant and simple in concept, but is actually fairly complicated in practice. Actual implementations use a pair of LEDs, one for IR and one for red visible light, and a single photodetector (Figure 1).

Figure 1: The physical arrangement for optically-based determination of blood oxygen (SpO2) uses a red LED and an IR LED, both measured by a single, shared photodetector. (Source: Oximetry.org)
The relative attenuation between the two wavelengths, rather than absolute attenuation of either one, is the key marker of SpO2 level (Figure 2). The optical signals arriving at the photosensor are converted to current (called photoplethysmography current or, more simply, pleth current), digitized, and then processed by complex, sophisticated, medically validated algorithms to provide SpO2 readings in real time.

Figure 2: The SpO2 measurement begins with the relative attenuation of the two optical wavelengths (red and IR) versus SpO2 level (Hb is deoxygenated blood, HbO2 is oxygenated blood). (Source: Oximetry.org)
The blood flow being measured is not constant, but instead "pulses" with the cardiac-driven pumping. In SpO2 units, this pulsation is an advantage since the processing algorithms can use it to determine pulse rate along with the SpO2 reading. Pulse rate tracking is called optical heart rate monitoring (OHRM) (Figure 3a and 3b). Before these algorithms can be implemented, however, the raw signals from the photosensor must be processed to account for issues such as sensitivity, ambient light, temperature drift, calibration, filtering, noise, and physical packaging.

Figure 3(a): The transmission patterns of the red and IR lights are cyclic, being modulated by blood-flow pulsing due to heart pumping. This modulation rides on a DC-like offset. (Source: Texas Instruments)

Figure 3(b): The relative strength and the red/IR modulation ratio is a function of the SpO2 level. (Source: Texas Instruments)
The optical path from LED to sensor is not at all a straight line, and most of the LED light is absorbed or scattered before it reaches the photo detector on the other side of the finger; thus the relationship between received photon level and actual SpO2 level is quite complicated. Since the light is so severely scattered, the LEDs and photosensor do not even have to be facing each other, but instead can be at right angles or even alongside each other. Of course, the algorithm must be adjusted to accommodate this arrangement.
Front-end tradeoffs define design issues
The use of an LED-to-photosensor path to assess a physical parameter is very difficult to adapt to the unique needs of SpO2 sensing (Reference 1). Among the issues which the designer and team must address are:
Ambient light - Even if the LED/sensor array is mechanically shielded to some extent, there will always be stray light from nearby and overhead lights impinging on the photosensor. The same internal scattering effect that causes the LED's output to make the finger glow also works the other way: any ambient light which the entire fingertip "sees" will also be scattered toward the photosensor. This induces a varying offset in the output current of the photosensor, and reduces its dynamic output range.
In fact, if the ambient light is bright enough, it can saturate the photosensor and make the optical channel useless. As the ambient light is not constant, the system must suppress this offset error dynamically, requiring both hardware-based adaptive gain-ranging as well as algorithm-based corrections.
Temperature coefficients - Both the intensity and wavelength of the two LEDs are a function of temperature, as is the response curve of the photosensor. Therefore, data analysis based on the relative magnitude of the sensor output for each impinging wavelength must take temperature into account and compensate for it accordingly.
LED drive current and pulse width – Since there is an optimum LED drive current and output level which will maximize dynamic range and performance, the current for each LED must be dynamically adjustable.
Additionally, the visible and IR LEDs are pulsed alternately, and their pulse widths need to be adjusted to balance performance with power consumption and self-heating concerns. The typical pulse-repetition frequency is 100 Hz with a duty cycle of 25%.
Sampling rate – Human body signals have a relatively low frequency, and therefore SpO2 sampling rates are between one hundred to a few thousand samples per second. However, the required resolution is in the mid to high range with 16 bits as a minimum, although most systems use between 18 and 22 bits. Also, the analog-to-digital converter (ADC) subsystem must be programmable over a wide range to accommodate the variables which will affect the min/max values of the photosensor output.
Low-power circuitry is critical in battery-powered instrumentation, whether for a fixed medical-office instrument, a mobile field device, or a small personal unit. A fully self-contained, battery-powered pulse oximeter with a readout built into the finger-clip assembly is shown in Figure 4. Larger units may include connectivity via wireless or wired links to a smartphone or a larger medical station.

Figure 4: Using modern, low-power, high-performance optical, analog, and digital components, a fully integrated SpO2 sensing system and readout can fit into a fingertip clip. (Source: Wikipedia)
Making it real
A successful optical SpO2 design begins with the integrity of the LED pair/photodiode path and its output. If the sensor current output is repeatable under a wide range of operating conditions, then the algorithms which process the data to provide final readings can be accurate (References 2, 3, and 4).
The sensor output provided by the AFE must provide two very different functions. First it needs to provide the adjustable LED drivers, and secondly, it has to provide the transimpedance amplifier (TIA) and amplifier/filter stages which convert the minute photodiode current into a voltage. The TIA presents a low impedance to the photodiode and isolates it from changes in the output voltage of the operational amplifier. It must also have low internal noise so it does not corrupt the photodiode output, and it needs to handle a wide dynamic range (80 to 100 dB).
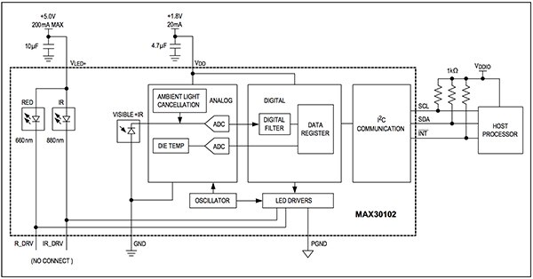
An example of a high-performance SpO2-specific IC is the MAX30102 from Maxim Integrated, an integrated pulse oximetry and heart-rate monitor module which includes internal LEDs, a photodetector, optical elements, and low-noise AFE electronics (Figure 5). It also has a temperature sensor and other peripheral functions. The fully conditioned, calibrated, and digitized optical output data provided by the MAX30102 goes via an I2C port to a host microcontroller that implements the SpO2 algorithms.

Figure 5: The MAX30102 is a multichip IC that includes all the AFE functions, and communicates with its processor via an I2C port. (Source: Maxim Integrated)
The physical structure of this device fits its application. It is a tiny 14-pin optical module that measures just 5.6 × 3.3 × 1.55 mm with an integrated cover glass, and is intended to be mounted within a finger clip (Figure 6). The physical layout of the MAX30102 subsections match the application, putting the LEDs on one end and the sensor on the other. The patient's finger is placed on top of the source and sensor.
The Max30102 has very low power requirements of under 1 mW in active mode, and 0.7 μA in shutdown mode. It can operate from a 1.8 V power supply along with a separate 5.0 V rail for the internal LEDs.

Figure 6: The physical layout of the MAX30102 subsections is in line with the device’s application, putting the LEDs on one end and the sensor on the other. (Source: Maxim Integrated)
For most designers, the challenges of optical biosensing design all combine for a fairly long development cycle and time to market. For this reason, Maxim Integrated also offers the MAX30102ACCEVKIT evaluation kit with two boards: the USBOSMB motherboard, and the MAX30102DBEVKIT daughter board that includes the MAX30102 and a three-axis accelerometer. The accelerometer is required in some wearable applications to compensate for user motion while taking measurements. The kit also includes data acquisition and analysis software that is accessible via a GUI, allowing users to evaluate algorithms and adjust operating dynamics (Figure 7).

Figure 7: Using the GUI of the MAX30102ACCEVKIT evaluation kit, designers can vary LED parameters such as current and see the effects on photosensor output. They can also adjust ADC sampling rate and other AFE operating conditions. (Source: Maxim Integrated)
The kit also includes two different medical standard algorithms, PBA and SKA, that designers can use as starting points for developing and/or enhancing their own code to calculate SpO2 and heart rate.
The PBA algorithm looks for zero crossings using a slow threshold and completes its evaluation cycle with each sampling point, resulting in no output delay. In contrast, the SKA algorithm waits for three seconds and then looks for peak detection. While the algorithm is processed every second, it requires a more-complex math operation. Also, PBA requires much less data and code space compared to SKA.
What about test?
The circuitry signal chain can be evaluated by driving the LEDs over a wide range of currents and conditions. The evaluation must then add varying amounts of ambient light along with other sources of noise to the optical and electrical signals. However, there are no simulators that can truly replicate the patient's finger and blood with different SpO2 levels (Reference 5). Therefore, the design team must have a plan for verification that uses methods and techniques established by the medical community and regulatory agencies.
Conclusion
The use of photon-based sensing to determine SpO2 is part of a larger trend of using optical biosensing to measure many patient tissue and biofluid parameters and markers. In principle, it’s an attractive approach because it is noninvasive, easy to set up, and offers real-time results and tracking.
Successful optical biosensing requires a properly matched AFE, as well as data processing to execute the complicated algorithms that translate raw, uncalibrated, and uncorrected readings into useful data. As we have seen, the Maxim Integrated MAX30102 and the associated evaluation kit addresses these issues and minimizes the design effort needed to overcome them.
References
- Oximetry.org, "History of Pulse Oximetry."
- AACN Procedure manual for Critical Care, "Oxygen Saturation Monitoring by Pulse Oximetry."
- Ashfaq Hasan, Handbook of Blood Gas/Acid-Base Interpretation, Chapter 2: "The Non-Invasive Monitoring of Blood Oxygen and Carbon Dioxide Levels" (Springer).
- "Independent Component Analysis Applied to Pulse Oximetry in the Estimation of the Arterial Oxygen Saturation (SpO2) - a Comparative Study" (Annual Conference of IEEE Engineering in Medicine and Biology Society, 2009)
- Fluke Biomedical, "There’s no such thing as a SpO2 simulator."
Disclaimer: The opinions, beliefs, and viewpoints expressed by the various authors and/or forum participants on this website do not necessarily reflect the opinions, beliefs, and viewpoints of DigiKey or official policies of DigiKey.

