Specialized Devices Bring Synchrony to IoT Sensor Fusion
Contributed By DigiKey's North American Editors
2016-07-07
Sensor fusion is almost self-explanatory in that it combines data from multiple sensors to provide information in a broader context than typically possible with a single sensor. However, there’s a distinct difference between explaining it and doing it – reliably. Without tight synchronization of those sensor readings, sensor-fusion algorithms quickly lose accuracy and can potentially provide misleading results.
To help avoid this circumstance, there are ICs that offer more advanced multichannel signal-conversion capabilities that let designers more easily build systems capable of accurate measurement of multiple sensors, while retaining the tight synchronicity required for high-reliability sensor-fusion applications.
Whether for the Internet of Things (IoT), standalone embedded, or any sensor processing application, simultaneous multichannel data acquisition can bring dramatically different requirements for accuracy, dynamic range and bandwidth. For example, a multi-sensor array for capturing events in high-energy physics experiments requires ultra-high-speed flash converters with dedicated signal channels capable of highly synchronized conversion at gigahertz frequencies. In contrast, a simple 8-bit MCU with integrated ADC might be sufficient to capture temperature, wind, and atmospheric pressure every few minutes for a weather-monitoring system.
For the IoT, many sensor-fusion applications are likely to present requirements that fall somewhere between those extremes – with the added requirement for a simplified design, small footprint, and low power consumption. Within this broad range, however, IoT designers nevertheless can face requirements for specialized signal chains comprising optimized components or face requirements for compact, highly integrated systems. Regardless of the implementation approach, the goal remains the same: ensure reliable, simultaneous conversion across multiple sensors.
Dedicated signal chains
Outside of very-high-speed applications, multichannel data conversion systems have typically relied on a multiplexer feeding a high-speed analog-to-digital converter (ADC). For applications requiring tightly synchronized measurements, however, the time required for the multiplexer to switch and the input signal to settle can be problematic for sensor-fusion applications expecting simultaneous sensor measurement.
The Texas Instruments ADS131E08S is one of an emerging class of analog-front end (AFE) ICs that offer dedicated signal paths for each analog input channel, providing true multichannel, simultaneous sampling capabilities. Each channel in the device includes a complete signal path comprising electromagnetic interference (EMI filter, multiplexer, programmable gain amplifier (PGA), and 24-bit delta-sigma (ΔΣ) ADC (Figure 1, top). In turn, eight CHnSET registers allow developers to programmatically configure each channel's operating characteristics or even power the channel up or down (Figure 1, bottom).

Figure 1: The Texas Instruments ADS131E08S analog-front end IC provides eight complete sensor signal chains (top); each channel is software-configurable (bottom) through its own CHnSET register (n=1 to 8), allowing developers to set the input source (MUX[2:0]) and PGA gain (GAINn[2:0]) and even power an individual channel up or down (PDn). (Source: Texas Instruments)
As mentioned earlier, a unique feature of the ADS131E08S is its per-channel multiplexer feature. While a mux in a more traditional multichannel ADC connects different analog input pins to the ADC, the ADS131E08S's channel multiplexers provide a mechanism for testing each channel. By setting bits MUX[0-2] in the CHnSet register for a channel (n), engineers can set the signal source for channel n to the internally-generated signals for test, temperature, and fault detection (Figure 2).

Figure 2: Using the MUX[2:0] bits, designers can configure the dedicated input multiplexer integrated in each channel of the TI ADS131E08S to support a variety of signal-switching options for signal measurement, temperature measurement, calibration and diagnostics. (Source: Texas Instruments)
Within each channel, the output of the mux passes to a configurable PGA, comprising two operational amplifiers in a differential configuration. Using the CHnSET register for each channel, users can set PGA gain to one of five settings: 1, 2, 4, 8, and 12. Finally, each channel's signal chain feeds into its dedicated ΔΣ ADC using second-order modulators optimized for low-power operation.
Simplified operation
The device offers both hardware and software mechanisms for performing simultaneous multichannel sensor measurements. Designers can start the conversion by setting the device's START pin high or sending the START command through the device's serial peripheral interface (SPI)-compatible interface. In turn, the device ADCs begin converting the input signals, pulling the data-ready indicator DRDY high. The next DRDY falling edge indicates that conversion is complete and conversion results are ready. In a typical MCU-based system, the MCU would monitor DRDY and use the SPI-compatible interface to read data.
The device's extensive integrated feature set also simplifies hardware design. Along with the SPI-compatible interface, the device includes GPIO pins, an on-chip oscillator, integrated reference source, and analog comparators. As a result, engineers can simply combine the TI ADS131E08S with a microcontroller to create a complete multichannel, simultaneous sampling design.
Even though it draws only 2 mW/channel, the ADS131E08S supports data-conversion rates as high as 64 Ksamples/s per channel. If more than eight channels are required, designers can cascade multiple devices, using the same START signal to initiate simultaneous conversion across all the cascaded devices (Figure 3). Multiple devices can use the same SPI-compatible bus; the host processor would use its own GPIO signals to individually select a particular ADS131E08S device for transmitting commands or receiving data.

Figure 3: Designers can cascade multiple ADS131E08S AFEs to perform simultaneous measurement of more than eight channels, using the host processor's GPIO signals as a chip-select for each device across the shared SPI connection. (Source: Texas Instruments)
Integrated approach
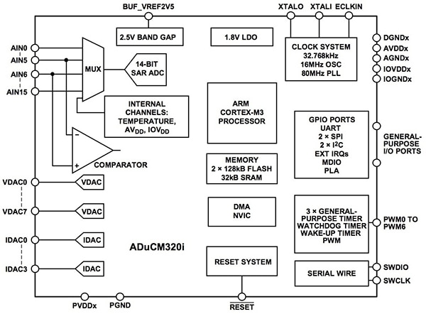
Use of a dedicated AFE, such as the TI ADS131E08S, is particularly effective for applications requiring some specialized sensor acquisition or signal processing – especially where the need for a greater number of channels or additional high-performance processing capabilities outweighs the need for a compact design. In cases where the absolute minimum footprint is a primary requirement, designers can turn to a device such as the Analog Devices ADuCM320i capable of delivering a single-chip solution for multichannel simultaneous data acquisition. Well-suited for complex sensor applications, the ADuCM320i integrates an ARM® Cortex®-M3 processor core with on-chip flash memory, SRAM, and a rich set of analog and digital peripherals (Figure 4).

Figure 4: The Analog Devices ADuCM320i can serve as a complete 1 MSPS multichannel sensor data acquisition system with its combination of integrated processor, SRAM, flash, ADC, current output channels, and on-chip PLA. (Image Source: Analog Devices)
Among those peripherals, the ADuCM320i provides four current-output digital-to-analog converters (DACs). Capable of delivering 0 mA to 150 mA full scale, the current DACs (or IDACs) offer an effective solution for resistive sensors that require an excitation current for operation. The device also integrates a fully programmable logic array (PLA) comprising four independent but interconnected PLA blocks, each providing eight PLA elements. Each PLA element contains a two-input lookup table that can be configured to generate any logic output function based on two inputs and a flip-flop.
The heart of the device remains its on-chip ADC, providing 14-bit data acquisition on up to 16 input pins that are configurable for single-ended or differential operation. The ADC block includes a multichannel multiplexer, input buffer for high-impedance input channels, on-chip reference, and successive approximation register (SAR) ADC. Although the device uses the conventional approach where a single on-chip multiplexer brings separate analog inputs to the ADC, it is capable of achieving 1 MSPS operation. At these rates, slight differences in actual measurement time will have little impact on most sensor fusion applications targeting the IoT.
The device requires only a simple sequence of operations to perform conversion. For example, to set up the ADC and generate a single conversion on analog input channel 0 (AIN0) using a single-ended measurement, an engineer would first configure the device by setting the registers as follows:
ADCCON = 0x280; // Power up the ADC, enable reference buffer, idle mode
ADCCHA = 0x1100; // Select AIN0 as the positive ADC input (AIN+)
// and ADC_REFN as the negative ADC input (AIN−)
ADCCNVC = 0xA00C8; // Select 100 kSPS ADC update rate and 500 ns acquisition time
ADCCON |= 0x2; // Enable single conversion
On completion of the conversion, the device issues an interrupt, allowing an interrupt-handling routine to read the converted data for channel 0 from ADC output register ADCDAT0.
The ADuCM320i can perform a specified sequence of measurements from a programmer-specified group of channels, reducing processor overhead for sampling and optimizing power consumption. With this approach, the engineer programs the ADCSEQ[0:28] register to specify the channels to include in the conversion sequence, including a specific channel by setting its corresponding bit or excluding that channel by clearing its bit.
The device allows engineers to further reduce processor overhead (and power utilization) by taking advantage of the device's direct-memory access (DMA) feature. Here, designers would program the device to use the ADC or ADC sequencer as the source channel for the DMA controller, which autonomously moves ADC results directly into SRAM without processor intervention on completion of conversion of the selected channel or channel sequence.
Conclusion
Sensor fusion can bring a rich set of contextual information to IoT applications but success depends heavily on synchronized conversion of signals from multiple sensors. For IoT device designers, traditional conversion solutions can complicate the task of ensuring synchronization in multichannel data conversion. Highly integrated ICs provide designers with simple, effective solutions for achieving simultaneous or near-simultaneous multichannel conversion, well-suited for meeting broad requirements for compact, low-power designs for the IoT.
Disclaimer: The opinions, beliefs, and viewpoints expressed by the various authors and/or forum participants on this website do not necessarily reflect the opinions, beliefs, and viewpoints of DigiKey or official policies of DigiKey.


