How to Reliably Maintain Power to Security, Safety, and Communications Systems
Contributed By DigiKey's North American Editors
2022-08-17
At their base level, residential, commercial, and industrial automation complexes must incorporate a wide range of security, safety, and emergency communications systems for insurance requirements and local building codes, and to receive a certificate of occupancy. One factor common to these systems is that they all need an AC line power supply to produce lower voltage DC operating power, and they all need a highly reliable battery backup arrangement.
However, providing just basic AC-DC power and backup is not enough for modern buildings and standards. A comprehensive, code approved system needs various unambiguous alarm indications, provided via switch closures to signal specific internal and external fault conditions. Furthermore, systems in today’s smart buildings need to support various modes of connectivity—as well as flexibility in physical mounting and operating modes—if they are to meet the needs of various installations, battery types, and other variables.
It is possible to pull together what’s needed for AC-DC or DC-DC power, battery recharging and management, and system supervision, management, and alarm control using disparate subsystems. The result may be a fully optimized design for the application. But at what cost? The process of doing so is time-consuming, costly, and distracts from the main application. The design also must be certified by appropriate regulatory authorities, adding to the cost and design time.
An alternative is to use an all-in-one, integrated power supply that meets the core performance requirements while avoiding the drawbacks of designing from scratch.
This article discusses the demands of power systems for building automation before introducing integrated power supply solutions from MEAN WELL. The article will look at the features and application of these sophisticated, intelligent, power subsystems and how they offer seamless functional integration along with flexibility and parameter programmability.
New demands on building management and security power systems
The power subsystem of a commercial office or large residential building is now expected to support many functions, some needed for efficient operation and others mandated for safety and security. Among the functions requiring power rail support are:
- Fire safety alarms and systems
- Emergency communication equipment
- Emergency lighting (due to fire or other power outage)
- Building access control systems
- Central fire alarm and security monitoring system
Depending on building size, the power subsystem must support critical functions across several floors and be bidirectional with the primary AC (or DC) line charging the battery when that option is available, and the battery supporting the various loads and subsystems if the primary line is not available (Figure 1).
Figure 1: A power subsystem in many installations must support the needs of several floors while managing to charge a battery and its discharge when primary power fails. (Image source: MEAN WELL)
A major consideration is charging and managing the backup battery, which must be properly supervised for its critical role as an uninterruptible power system (UPS). There is no single best approach here, as batteries with different electrical capacities and types are in wide use, including lithium and lead-acid chemistries, each with its own charge/discharge guidelines.
Further, there are many standards and building code mandates which must be satisfied in addition to the more conventional ones for any AC-DC or DC-DC supply. Due to the increase in advanced building architectures, along with recognition of what technology can do in smart buildings, agencies in Europe, the USA, and China have promulgated safety regulations for security and fire systems, including:
- European Committee for Standardization (CEN) EN 54-4: Fire detection and fire alarm systems Part 4: Power supply equipment (British Standard. BS EN. 54-4).
- United States: UL2524: ANSI/CAN/UL Standard for In-building 2-Way Emergency Radio Communication Enhancement Systems.
- United States: National Fire Protection Association NFPA 1221: Standard for the Installation, Maintenance, and Use of Emergency Services Communications Systems.
- China: GB 17945-2010: Fire emergency lighting and evacuate indicating system.
In addition, there are the usual basic AC safety mandates, along with standards for electromagnetic compatibility (EMC) emissions (conducted, radiated, harmonic current, and voltage flicker defined by EN55032 (CISPR32) and N61000-3-2, and for EMC immunity (electrostatic discharge (ESD), radiated, electrical fast transient (EFT) burst, surge, conducted, and magnetic field) per EN61000-4.
Putting all these requirements together means that a power supply unit (PSU) is more than just a simple AC-DC or DC-DC supply. It must provide, supervise, manage, and support multiple functions with a high degree of reliability and performance (Figure 2).
Figure 2: A modern PSU has two primary roles: supplying lower voltage DC to various loads while providing high-performance battery management. (Image source: MEAN WELL)
Packaging and mounting also important
Physical size, operating temperature range, cooling, and mounting considerations are also important PSU factors. These units are typically located in a utility closet, often with limited space and cooling. In addition to the PSU and battery, this closet may also house data and telecommunication equipment for the building such as switches and routers, so space is at a premium, and the convenience of rack mounting is an attractive feature.
Integrated power supplies address building power management requirements
To address the performance, form factor, mounting, and design simplification needs of building automation designers, MEAN WELL has the DRS-240-12, a 12 volt/20 ampere (A), 240 watt, all-in-one unit, as well as a larger sibling, the DRS-480-24, a 24 volt/20 A, 480-watt unit. Other units in the DRS-240 series offer different voltage/current combinations: 24 volts/10 A, 36 volts/6.6 A, and 48 volts/5 A; for the DRS-480 series, the available pairings are 36 volts/13.3 A and 48 volts/10 A.
With respect to the issue of placement and mounting, the DRS-240 and DRS-480 units address this by mounting directly on widely used, industry standard DIN rails, type TS-35/7.5 or 15. This simplifies mounting and allows other systems and their enclosures to be easily mounted alongside. Further, a DIN rail design means that all connections, indicators, and readouts are in front, with no need for back panel or even side access. This is a benefit in wiring planning, installation, configuration, testing, and rewiring if needed.
Available space is at a premium in these closets, so a compact PSU form factor is important. The DRS-240 units are just 86 × 125 × 129 millimeters (mm) (width × height × depth) while the DRS-480 units are 110 × 125 × 151 mm (Figure 3).
Figure 3: The 240-watt (left) and 480-watt DRS (right) units have a compact form factor and mount on a standard DIN rail; the 480-watt unit is slightly larger. (Image source: MEAN WELL)
Environmental conditions in these cabinets and closets also present a challenge to short and long-term performance. All members of the DRS families are rated for -30 to +70˚C and 20 to 90% relative humidity (RH) non-condensing operation with free-air convection cooling. Reliability is calculated at 564.7K hours (minimum) per Telcordia SR-332 (Bellcore) and 73.3K hours minimum per MIL-HDBK-217F (at 25˚C) for the DRS-240 units; the corresponding figures for the DRS-480 units are just slightly lower.
Line power input leads to DC and battery management output
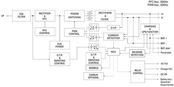
Given the variations of the grid and the desire for worldwide applicability and installation ease, the input power range is also important. These PSUs are specified for 90 to 305 volts AC and 127 to 431 volts DC. Many of the functions within these units are dedicated to charging, discharging, status indication, and overall management of the battery (Figure 4).
Figure 4: The block diagram of the DRS PSUs shows their internal sophistication and the amount of circuitry dedicated to battery management, charge/discharge, indicators, and protection. (Image source: MEAN WELL)
The two-stage/three-stage charging curve and charging-current setting (between 20%~100%) can be manually adjusted via a DIP switch on the front panel. The maximum available battery charging current is a function of the maximum output current available from the specific DRS model. The battery charging algorithm is load dependent and the charging parameter flexibility allows the DRS-240/480 to optimally manage a variety of lead-acid and lithium batteries.
Due to the importance of the battery function, the system also includes indicators for low battery and protection against reverse connection. These and other features combine to provide a rugged, reliable battery subsystem which can be charged from the mains, but also switchover and deliver its rated power within 10 milliseconds when the mains are not available.
Faults and problems will happen
It’s inevitable that there will be internal or external conditions which affect the ability of a PSU to provide all specified functions. For this reason, the DRS units include status indications for conditions such as short circuits, overloads, overvoltage, and over temperature, in addition to the low battery and reverse connection indicators already cited.
Also important are the tangible status indicators of key operating conditions of AC fail, DC OK, battery low, charger fail, and DC OK which are provided by LEDs and Form C relays (Figure 5). The Form C relays are clearly marked and provide a “dry” contact closure which is used (and mandated, in some cases) for several reasons.
Figure 5: The front panel is all the user sees for power connections, indicators, and relay contacts. (Image source: MEAN WELL)
These contact closures are unambiguous and offer several benefits. They have long been used in the application and so are compatible and easily integrated with both legacy and new systems and components (even basics such as an external flashing light and bell); they are highly reliable and rugged; and a switch closure is the most definitive indication a system can provide, especially if there are power problems that may affect operation of interfaces that are more “electronic,” such as open-collector outputs or even solid-state relays (SSRs).
Communications also mandatory
A modern PSU must also offer network connectivity for high-level management, set-up, and reporting. The standard DRS families of PSUs support Modbus links, with a CAN bus option, which can also be used with an available smart programming unit. This programmer is used for external setting of parameters associated with the battery’s charging curves and modes, such as the constant current (CC), taper current (TC), constant voltage (CV), and float voltage (FV), to accommodate the many different battery types in use across the industry (Figure 6).
Figure 6: Using the Modbus-based programmer, a user can set the many battery charging specifics to optimally match the battery size and type. (Image source: MEAN WELL)
Although the DRS families of PSUs offer many functions and features, their actual connection is fairly simple. This is an important benefit and preference in practical installations, especially as these units are often in use for many years (Figure 7).
Figure 7: The internal complexity and sophistication of the DRS families of PSUs are invisible to the user, who must deal with only a few front-panel connections and indicators. (Image source: MEAN WELL)
Conclusion
Power supply units such as those in the MEAN WELL DRS-240 and DRS-480 families provide more than basic AC-DC or DC-DC conversion. They are an approved power management solution for fire safety and building security systems, including emergency communication equipment. As shown, by integrating all needed functions into a small, efficient, reliable, easily mounted, and connected DIN-rail package, the DRS supplies simplify documentation, installation and operation, while providing the functionality, features, and performance needed to meet an array of regulatory codes.
Related Content
Disclaimer: The opinions, beliefs, and viewpoints expressed by the various authors and/or forum participants on this website do not necessarily reflect the opinions, beliefs, and viewpoints of DigiKey or official policies of DigiKey.

